皇冠信用網正网 | 37岁男演员于朦胧被传坠楼,7月刚注销工作室,警方回应
时间:2025-09-11 阅读:4766 评论:152
皇冠体育比分(www.hg0088.us)-会员开户_登3代理>皇冠体育/—开会员账号—皇冠信用网招登1登2登3<平台出售>据中国蓝新闻,9月11日,演员于朦胧冲上热搜,有网友称于朦胧今日在北京坠楼,目前于朦胧方无回应皇冠信用網正网。

于朦胧主页显示,其上次更新动态是8日前,昨天21:31还上线了微博皇冠信用網正网。目前,于朦胧方暂无回应。

据三湘都市报,记者联系了北京市朝阳区常营派出所,派出所民警称没有收到相关消息皇冠信用網正网。

展开全文
于朦胧,1988年6月15日出生于新疆维吾尔自治区乌鲁木齐市,毕业于北京演艺专修学院,中国内地男演员、歌手、MV导演皇冠信用網正网。

2007年,参加东方卫视选秀娱乐节目《我型我秀》,获得西安站16强皇冠信用網正网。2010年,参加选秀节目《快乐男声》被选入“快乐天团”候选人;同年,担任丁爽歌曲《61秒》的MV导演。2013年,参加湖南卫视选秀娱乐节目《快乐男声》,获得全国总决赛第十名。2015年,主演的古装穿越剧《太子妃升职记》播出,获得大量关注。代表作品有《三生三世十里桃花》《太子妃升职记》《永夜星河》《一伞烟雨》等。

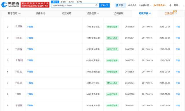
天眼查任职信息显示,于朦胧名下关联2家工作室,分别为上海起萌影视文化工作室、东阳鲜萌影视文化工作室,均为注销状态皇冠信用網正网。其中,上海起萌影视文化工作室成立于2017年8月,于2024年11月注销,出资额500万人民币,为于朦胧个人独资企业。知识产权信息显示,该工作室已成功注册多枚“于朦胧”商标。此外,东阳鲜萌影视文化工作室成立于2016年9月,于2025年7月注销,出资额0.05万人民币,为于朦胧个人独资企业。




猜你喜欢
- 2025-12-14皇冠信用盘会员开户申请_谁是高市早苗的“金主”?
- 2025-12-14皇冠信用盘会员开户申请_江西银行南昌八一支行被罚30万,涉贷款管理不到位
- 2025-12-13皇冠信用盘会员注册网址_印尼洪灾遇难人数超1000人
- 2025-12-13信用盘皇冠申请注册_“他们在逼我主动离职!”贵阳一女子称因拒绝公司降薪被“拒之门外”,律师称已涉嫌侵权
- 2025-12-13皇冠信用盘账号注册_上市一周后,摩尔线程拟用不超过75亿元买保本理财产品
- 2025-12-13怎么弄皇冠信用盘_时隔35天,中日双方将要再次会晤?小泉致电美防长,白宫紧急澄清中美关系!
- 2025-12-13世界杯足球平台代理_有人晒出一张照片,家长集体崩溃:买了丢,丢了买,尴尬了
- 2025-12-13皇冠信用盘庄家_国安新赛季管理架构解读:布罗萨默与王长庆的角色定位
- 2025-12-12正版皇冠信用盘开户_比中国年轻人更爱去成都的,居然是外国年轻人?
- 2025-12-12皇冠信用盘怎么开户_雷士照明创始人吴长江出狱后痛苦回忆 豪赌败光300亿身家
- 2025-12-12皇冠信用盘如何申请_俄称已控制哈尔科夫一地!乌方:首次用无人机击中俄里海石油平台,致其生产中断
- 2025-12-11皇冠信用网怎么租_欧冠-罗德里戈破荒哈兰德点射 姆巴佩未登场皇马1-2曼城



网友评论